emilspec
An Integrated Publishing, Inc. Site
eMilSpec
An Integrated Publishing Website
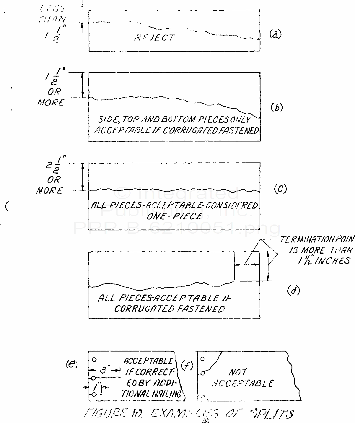
PPP-B-621 Boxes, Wood, Nailed And Lock-Corner (S/S By Astm-D6880)
This specification and appendix thereto, covers new nailed and lock-corner wood boxes, assembled or knocked down, for use as domestic and overseas shipping containers.
For Parts Inquires submit RFQ to
Parts Hangar, Inc.
© Copyright 2015 Integrated Publishing, Inc.
A Service Disabled Veteran Owned Small Business